GazBusters cc
Custom Search
 
   
  Domestic Gas Installation

Basic Gas Line Installation costs will depend on the scale of work and length of piping required (Approx cost excluding VAT is around R2800, Excluding cylinders). Installation includes wall mounted regulator, shut-off valve, change over and connections for two bottles, 6m piping and LP Gas Installation Certificate. (R60/m there after). For a Single Cylinder Instillation the Approx cost excluding VAT is around R1900.00, Excluding cylinders.

 
 
Installation Regulations


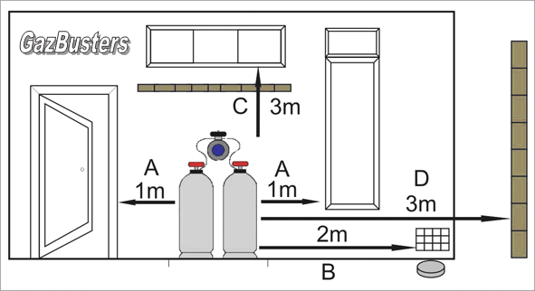
If you already have a Gas line installed but you don't know if it is legal, compare it to the following diagram. Give GazBusters a call just to make sure!



A - 1m sideways from Doors and Windows
B - 2m from Drains and Air Vents
C - 3m below windows, unless non combustible roof is installed between containers and windows
D - 3m from property boundary unless boundary is a Fire Wall
E - 5m away from a switchable electrical point i.e. plug socket, mains power, motor, distribution board, etc. (not a light)


Only Class 1 or 2 copper pipe can be used. NOT what is used in plumbing.


All pipes going through a wall must be sleeved.


Flexible hose may not be more than 2m and may not go through any partition/wall at all (including wood and dry wall).


 

LPGSA
Registered & Certified
QCC 644
QCC 811